Бессемеровский процесс

Бессемеровский способ состоит в том, что через жидкий чугун продувают воздух, окисляющий примеси чугуна. Сначала окисляется железо, концентрация которого преобладает над концентрациями примесей:
2 [Fe] + O2 = 2 (FeO); ΔH298298 = — 242,76 кДж.
Образующаяся закись железа перемешивается с металлом, частично растворяется в железе, а в большей мере отделяется в шлаковую фазу, образуя железистый шлак. Закись железа шлаковой фазы окисляет примеси по реакциям:
[Si] + 2 (FeO) = 2 [Fe] + (SiO2); ΔH298 = — 288,42 кДж [Мп] + (FeO) = [Fe] + (МnО); ΔH298 = — 112,86 кДж [С] + (FeO) = [Fe] + CO; ΔH298 = 85,46 кДж
Прямое окисление примесей кислородом также возможно, НО имеет меньшее значение. Теплота, выделяемая экзотермическими реакциями, разогревает чугун, температура его повышается. Окислы примесей образуют шлак.
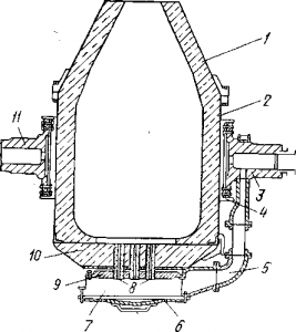
Продувка производится в конверторе — большой реторте из стальных листов, футерованной динасовым кирпичом (рис.). В приставном днище также из динаса запрессованы шамотные фурмы с соплами, через которые подается воздух под давлением до 304 кН/м2.
Рис. Бессемеровский конвертор:
1 — горловина; 2 — цилиндрическая часть (корпус); 3 — полая цапфа для подачи дутья; 4 — кольцо для скрепления цапф с корпусом конвертора; 5 — колено, соединяющее полую цапфу с воздушной коробкой; 6 — крышка воздушной коробки; 7 — воздушная коробка; 8 — фурмы; 9 — держатели фурмы; 10 — днище; 11 — цапфа, соединенная с передаточным механизмов поворота конвертора
Жидкий чугун при температуре 1350— 1400°С доставляют из миксера ковшами. Для приема.его конвертор переводят в горизонтальное положение, чтобы не залить фурмы, затем включают дутье, ставят конвертор вертикально и продувают воздухом в течение 15—20 мин. Готовый металл выливают в сталеразливочный ковш, а шлак — в шлаковницу. Суточная производительность конвертора емкостью 25—30 т составляет около 1200 т, он один способен переработать суточное производство чугуна крупной доменной печи.
В работе конвертора различают три периода (рис. 2). Первый период характеризуется энергичным выгоранием кремния и марганца. Длительность его равна 3—5 мин. Во втором периоде после снижения концентраций Si и Мn из расплава, разогретого до 1500° С, выгорает преимущественно углерод. Газы содержат много окиси углерода. Выходя из горловины и смешиваясь с воздухом, она интенсивно сгорает, образуя ослепительно белое пламя высотой 5—6 м. Скорость окисления углерода так велика, что кислорода, поставляемого дутьем, недостаточно, в результате чего наблюдается восстановление окислов железа из шлака. Пренебрегая участием в реакции закиси железа, как передатчика кислорода, можно представить окисление примесей следующими суммарными уравнениями:
[Si] + O2 + 3,762N2 = (SiO2) + 3,762N3;
ΔH298 = —774,73 кДж,
[Мn] + V2O2 + 1,881N2 = (МnО) + 1,881N2; ΔH298 = — 354,47 кДж,
[С] + V2O2 + 1,881N2 = СОгаз + 1,881N2;
ΔH298 = — 155,87 кДж.
В третьем периоде после выгорания углерода факел над горловиной уменьшается и продолжается окисление остатков кремния и марганца, сопровождающееся усиливающимся окислением железа, признаком чего является появление бурого дыма из конвертора. Длительность третьего периода составляет 1—3 мин. Продувку иногда прекращают после достижения требуемого содержания углерода, в этом случае плавка протекает без третьего периода. При бессемеровании получают 5—7% шлака от массы металла. Примерный состав шлака: 53— 55% SiO2; 0,5-1,0% Аl2O3; 18—22% МnО; 20—25% FeO. Кислая футеровка бессемеровского конвертора позволяет получать только кислые шлаки, в которые сера и фосфор не переходят. Бессемеровский чугун должен содержать не более 0,07% Р и 0,06% S, поэтому его выплавляют из железных руд, чистых по сере и фосфору. Для обеспечения достаточного прихода тепла в чугуне должно быть 1,2—1,5% Si и 0,5—0,8% Мn.
Рис. 2. Диаграмма бессемеровской плавки
Статья на тему Бессемеровский процесс


Добавить комментарий
Для отправки комментария вам необходимо авторизоваться.