Счетчик частиц это устройство для определения активности ионизирующего излучения любой природы.
Существует несколько видов счетчиков, электронные и газоразрядные. Газоразрядные в основном применяются в промышленности для определения излучения к примеру угля и других природных материалов.
Электронные, применяются в быту, индивидуальные на производствах где повышены условия излучений.

Содержание страницы
Что такое счетчики частиц или радиометры
Счетчик частиц или радиометры применяются для определения активности источников ионизирующих излучений любой природы; в медицине — преимущественно активности лечебных радиоактивных препаратов.
Непосредственно они измеряют количество частиц радиоактивного излучения или гамма-фотонов, попадающих в счетную трубку, однако путем сравнительных (с известным эталоном) измерений можно установить также и активность источника излучения.
Наиболее распространенными являются газоразрядные счетчики, основанные на регистрации ионизирующего эффекта излучения.
В этом они подобны рассмотренным выше дозиметрам и также подобно им состоят из двух основных частей: собственно счетчика (счетной трубки), выполняющего роль ионизационной камеры, и измерительного или регистрирующего устройства.
Основная разница при этом заключается в том, что в дозиметре камера работает в режиме первичной ионизации газа, а в счетчике—вторичной.
Это связано с тем, что первичный ионизационный эффект от одной (даже альфа) частицы настолько мал, что зарегистрировать его не представляется возможным.
Как устроена счетная трубка

Рассмотрим этот процесс подробнее, пользуясь графиком зависимости тока в счетной трубке от напряжения U между электродами при постепенном его повышении (рис. 2)
- При изменении напряжения от 0 до U 1 а затем до U2 (200—300 в) ток образуется в результате первичной ионизации газа под действием излучения; при напряжении U 1 ток достигает насыщения. В этом случае сила тока прямо пропорциональна ионизирующему эффекту от поглощенного в трубке излучения. Поэтому, например, при действии альфа-частиц сила тока больше, чем при бета-излучении (при таком же количестве частиц, попадающих в трубку). Трубка работает в режиме ионизационной камеры дозиметра.
- Напряжение изменяется от U2 до U3 (400—500 в). При напряжении U2 начинается вторичная ионизация газа и ток в трубке увеличивается, однако величина его остается пропорциональной первичному ионизационному эффекту излучения. Разряд остается несамостоятельным. Эффект-вторичной ионизации характеризуется коэффициентом газового усиления (отношение полного числа ионов и электронов, нейтрализующих заряды на электродах в единицу времени к числу ионов, образующихся первично), который имеет порядок нескольких тысяч. Это не обеспечивает достаточно высокой чувствительности счетчика. Режим используется при устройстве так называемых пропорциональных счетчиков.
- Напряжение от U3 до U4 (600—700 в). Вторичная ионизация нарастает; количество первично образовавшихся ионов теряет свое значение, хотя разряд сохраняет еще несамостоятельный характер. Коэффициент газового усиления повышается до нескольких десятков тысяч. Режим называется усилением с ограниченной пропорциональностью.
- Напряжение от U4 до U5 (800—900 в). Вторичная ионизация настолько интенсивна, что разряд делается вполне самостоятельным. Однако интенсивность его не очень высока и при необходимости он может быть быстро погашен. Коэффициент газового усиления достигает сотен тысяч. Чувствительность счетчика становится весьма высокой: достаточно появиться в трубке хотя бы одному электрону, как возникает электронная лавина, образующая импульс тока через трубку. Этот режим используется в наиболее широко применяемых в медицине счетчиков, называемых счетчиками Гейгера — Мюллера.
При дальнейшем повышении напряжения — V участок (1000 в и выше), самостоятельный разряд в трубке делается настолько интенсивным, что погасить быстро его не удается и трубка становится непригодной для регистрации ионизирующих частиц.
Устройство счетных трубок для различных видов радиоактивного излучения показано на рис 618—620: а — общий вид и б — схема устройства.
Счетная трубка для гамма-фотонов

От катода на конце трубки сделан вывод в форме латунного колпачка.
По оси трубки с помощью пружины П натянута тонкая вольфрамовая нить Я, служащая анодом. От нее сделан вывод А на другом конце трубки.
Трубка заполнена смесью аргона и метилового спирта под давлением, близким к атмосферному. Рабочее напряжение счетчика 650—800 в.
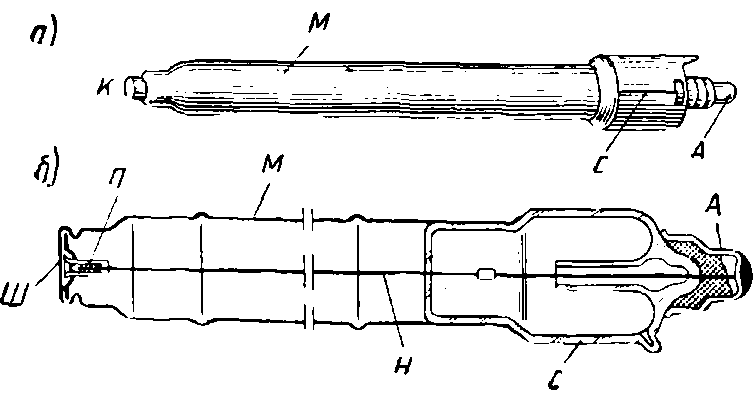
Счетчик для бета-частиц

На другом конце трубки укреплена алюминиевая шайба Ш с пружиной П для натяжения вольфрамовой нити Я, служащей анодом.
Вывод нити помещен в цоколе А стеклянной колбы. Катодом служит сама алюминиевая трубка, контактом для подведения напряжения — шайба Ш.
Счетчик наполняется смесью аргона с парами какой-либо органической жидкости.
Счетчик для бета-частиц с невысокой энергией

К другому концу которой специальной пастой приклеен тонкий листок слюды С (в счетчиках для альфа-частиц толщиной нескольких сотых миллиметра).
На внутреннюю поверхность трубки нанесен медный катод К, вывод от которого сделан на боковой стенке трубки.
Анод Л имеет форму иглы, на конец которой для предупреждения разряда помещена стеклянная бусинка Б.
Вывод анода — на основании трубки. Счетчик называется торцовым и заполнен аналогичной газовой смесью.
Схема счетчика

В простейшем виде, например, для демонстрации работы самой счетной трубки установка может быть собрана по схеме на рис.6, б. Вместо счетчика в анодную цепь усилительной лампы Л включается телефон Т (или динамик).
Проникая в счетную трубку, альфа- или бета-частицы производят в ней первичную ионизацию газа.
Падающие на трубку гамма-фотоны поглощаются в стенках трубки и производят в них ионизацию; образующиеся при этом электроны частью выбрасываются внутрь трубки, где также производят ионизацию газа.
Образовавшиеся при этом в трубке положительные ионы и особенно электроны, двигаясь под действием электрического поля между электродами, ускоряются и по пути производят вторичную ионизацию газа путем соударения.
Процесс ионизации быстро нарастает, и в трубке возникает тлеющий разряд, образующий довольно значительный импульс, тока, который создает на сопротивлении R импульс напряжения.
Этот импульс через разделительный конденсатор передается на усилитель-и затем регистрируется счетчиком (рис. 6).
Теперь необходимо погасить разряд и этим подготовить счетчик к регистрации следующей частицы. В схеме, показанной на рис. 6, это обеспечивается благодаря наличию сопротивления R значительной величины, которое включено последовательно как со счетной трубкой, так и с источником напряжения.
Образовавшееся на нем в момент импульса тока значительное по величине падение напряжения снижает напряжение между электродами трубки почти до нуля, и образовавшийся в трубке разряд гаснет. Это называется внешним гашением.
Более совершенным является гашение разряда в самой счетной трубке, которое происходит под действием молекул многоатомного газа, примешиваемого для этой цели к основному газу, заполняющему трубку (такие трубки называются самогасящимися).
При разряде в газе, кроме ионизации, происходит также интенсивное возбуждение атомов, сопровождающееся излучением фотонов.
Фотоны, попадая на катод, вызывают фотоэффект, что увеличивает количество электронов, участвующих во вторичной ионизации и таким образом поддерживающих разряд.
Многоатомные молекулы газа поглощают эти фотоны (сами молекулы при этом диссоциируют) и этим предупреждают фотоэффект на катоде. Кроме того, эти молекулы легко отдают валентные электроны, которые рекомбинируются с положительными ионами основного газа.
Образующиеся при этом положительные ионы многоатомного газа мало подвижны и в ударной ионизации почти не участвуют.
В результате после образования электронами первых лавин разряд затухает. С прекращением разряда в трубке восстанавливается исходное состояние и она опять готова к действию.
Мертвое время счетчика
Время образования и гашения импульса в счетной трубке, в течение которого она уже не регистрирует вновь попадающие в нее частицы, называется мертвым временем счетчика и зависит от его устройства.
При внешнем гашении оно порядка 10-2 шс и для самогасящихся трубок 10-4 сек.
Это время ограничивает наибольшее число импульсов, которое трубка может зарегистрировать в единицу времени (1 сек) при условии равномерного падения частиц на трубку.
Это число называется максимальной скоростью счета или paзрешающей способностью счетчика. В данном случае оно составляет 100 имп/сек при внешнем гашении и 10 000 имп/сек для самогасящихся трубок.
Скорость счета у электромеханического счетчика
Скорость счета у электромеханического счетчика значительно меньше, чем у трубки (примерно 50—60 импульсов в секунду, максимум — 100).
В связи с этим между трубкой и счетчиком, кроме усилителя, включают еще пересчетный механизм.
Последний с помощью довольно сложной электронноламповой схемы передает на счетчик только импульсы, кратные коэффициенту пересчета (1, 4, 16, 64).
Таким образом, пересчетный механизм позволяет производить счет импульсов, соответствующих падению на трубку до 5000 — 6000 частиц в 1 сек.
Медицинский счетчик частиц
Наибольшее распространение в медицинских радиологических лабораториях имеет счетная установка типа Б-2.
Установка (рис. 622) состоит из счетной трубки Т держателя для трубки вместе с входным блоком Б, который соединяется кабелем с основным корпусом прибора.
В корпусе находятся: выпрямитель В со стабилизированным напряжением для питания счетной трубки, усилитель П с пересчетной схемой и электромеханический счетчик С. К аппарату придаются часы с секундомером.
Счетчик состоит из электромагнита с якорем и системы зубчатых колес и стрелок с циферблатами. При каждом импульсе тока электромагнит притягивает якорек, который передвигает связанное с ним зубчатое колесо на один зубец.
Поворот зубчатого колеса вызывает движение стрелки на крайнем циферблате на одно деление. Когда стрелка пройдет весь круг первого циферблата, стрелка второго передвигается на одно деление и т. д.
В некоторых установках кроме счетчика имеется измерительный прибор, который показывает среднее число импульсов, регистрируемых счет ной трубкой в единицу времени.
Работа со счетной установкой
Работа со счетной установкой. Вставляют в держатель трубку, включают в сеть выпрямитель и пересчетный механизм, включают электромеханический счетчик и регулируют на выходе выпрямителя напряжение, необходимое для работы данной счетной трубки (обозначенное в ее паспорте).
Затем измеряют фон счета, т. е. количество частиц, падающих на трубку из окружающего пространства в единицу времени. Этот фон учитывают в окончательном результате измерения.
Затем трубку устанавливают около исследуемого источника излучения и включают счетчик, одновременно пуская секундомер. Отмечают количество импульсов, зарегистрированных счетчиком в течение определенного промежутка времени.
Если включался пересчетный механизм, то показания счетчика умножают на пересчетное число. Находят количество импульсов в единицу времени и вычитают из него определенное предварительно количество импульсов фона.
Полученная цифра укажет, какое число частиц или гамма-фотонов в единицу времени зарегистрировано счетной установкой.
Для того чтобы по этим данным судить об общем количестве излучаемых объектом частиц, т. е. об активности объекта, надо учесть, во-первых, какая часть из попадающих в счетчик частиц им действительно регистрируется и, во-вторых, какая часть из всех излучаемых источником частиц попадает в счетчик.
Первое называется эффективностью счетчика, второе — вероятностью попадания частиц в счетчик.
Эффективность бета-счетчиков принимается равной 100%, т. е. считается, что все проникшие в счетную трубку бета-частицы регистрируются. Для того чтобы мягкое бета-излучение (с энергией меньше 1 Мэв) не поглощалось стенками трубки, применяют торцевые счетчики.
В связи с невысокой проникающей способностью альфа-частиц эффективность торцевого счетчика невелика — 10—30%. Для счета альфа-частиц с относительно невысокой энергией применяют особые счетные трубки, в которых частицы впускаются внутрь трубки через специальное отверстие.
Эффективность гамма-счетчиков
Эффективность гамма-счетчиков не превышает 1%, т. е. из каждых 100 падающих на трубку гамма-фотонов регистрируется не более одного
Это связано с тем, что гамма-фотоны поглощаются в стенках трубки (заполняющий ее газ гамма-излучения не поглощает), поэтому только в них и образуются единичные ионы и электроны.
Часть из них попадает из стенок внутрь трубки и тогда производит ионизацию газа и вызывает импульс тока, регистрируемый прибором.
Таким образом, для регистрации гамма-фотона счетчиком необходимо, чтобы, во-первых, фотон был поглощен в стенках трубки и, во-вторых, образовавшийся при этом электрон имел достаточную энергию и попал бы внутрь трубки.
В связи с этим эффективность гамма-счетчиков весьма невысока и, кроме того, зависит как от вещества стенок трубки, так и от энергии фотонов.
От чего зависит эффективность счетчика
Эффективность зависит также от равномерности падения частиц на счетчик. При большой неравномерности отдельные частицы могут падать на счетчик в периоды мертвого времени и не регистрироваться, несмотря на то что общее число частиц в единицу времени находится в пределах его разрешающей способности.
Вероятность попадания испускаемых объектом частиц или фотонов в счетную трубку зависит от формы и размеров объекта, а также от расположения его по отношению к счетной трубке.
В связи со сложностью учета всех этих условий обычно измерение делают сравнительно со стандартным препаратом по возможности близкой формы и размеров.
Существуют специальные счетчики, в которых исследуемый объект помещается в центре рабочего объема счетчика, что обеспечивает попадание в счетчик 100% испускаемых частиц.
Люминесцентный счетчик
Наибольшее значение имеет люминесцентный, или сцинтилляционный, счетчик.
Принцип действия его состоит в том, что частица радиоактивного излучения падает на кристаллический люминофор и вызывает в нем световую вспышку.
Эта вспышка действует на катод фотоэлектронного умножителя и вызывает в нем импульс тока, который и регистрируется обычным образом.
Люминесцентные счетчики применяются для любых видов радиоактивного излучения. В качестве люминофоров используются йодистый натрий или калий, нафталин, антрацен и т. д.
Применяются также жидкие люминофоры, например раствор трифенила в ксилоле.
Счетчик состоит из смонтированных совместно фотоэлектронного умножителя Ф, у фотокатода которого расположен кристалл К со световодом С, и блока предварительного усиления У. Этот блок кабелем соединяется с регистрирующей частью установки.
Статья на тему Счетчик частиц

Добавить комментарий
Для отправки комментария вам необходимо авторизоваться.