Концентрирование бедных медных растворов экстракцией
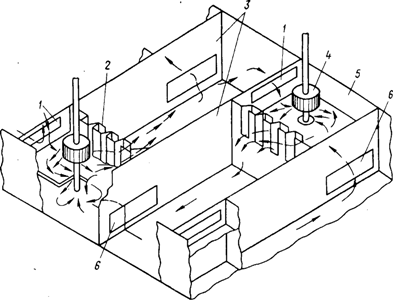
Экстракцию и реэкстракцию проводят чаще всего в смесителях-отстойниках, где водную и органическую фазы сначала интенсивно перемешивают для увеличения поверхности контакта ускорения массообмена, а затем дают отстояться для расслаивания (рис.).
Рис. Смеситель-отстойник для экстракции и реэкстракции меди: 1 — переточное окно легкой фазы; 2— жалюзи, разделяющие смесители и отстойники; 3 — отстойник; 4— турбинная мешалка; 5 — смесительная камера; 6 — переточное окно тяжелой фазы.
Электролит (до 40 г/л Сu) незначительно загрязнен железом и молибденом, в него совсем не переходят примеси цинка мышьяка и никеля. Способ пока еще не нашел широкого применения из-за дороговизны экстрагента при довольно высоких потерях его с отходами. Однако на некоторых заводах метод применяется, и это прогрессивное направление развивается. Главная задача теперь — поиски дешевых избирательных нетоксичных и неогнеопасных экстрагентов.
Переработка смешанных руд меди
Сульфидные минералы меди выщелачиваются довольно медленно и неполно, а окисленные иногда плохо флотируются. Для такого сырья В. Я. Мостович (1931 г.) и некоторые зарубежные исследователи предложили комбинированный флотационно-гидрометаллургический способ, позволяющий извлекать не только медь, но и благородные металлы. Вкратце он состоит из выщелачивания окисленных минералов серной кислотой, цементации меди губчатым железом непосредственно из пульпы и флотации цементной меди вместе с сульфидными минералами, содержащимися в них благородными металлами и самородным золотом.
Извлечение меди в концентрат (20—65% Сu), пригодный для плавки на штейн в отражательных либо электрических печах, достигает 70—90 вместо 30—40% при обычной флотации. В мировой практике так получают 2—3% меди.
Статья на тему Концентрирование бедных медных растворов экстракцией


Добавить комментарий
Для отправки комментария вам необходимо авторизоваться.